锘?!DOCTYPE html PUBLIC "-//W3C//DTD XHTML 1.0 Transitional//EN" "http://www.w3.org/TR/xhtml1/DTD/xhtml1-transitional.dtd">
鍚嶇О錛歋SJB-3錛圔Y)鍨嬪帇鐩栧紡闄愪綅浼哥緝鎺ュご
鏍囩錛?/strong>SSJB-3錛圔Y)鍨嬪帇鐩栧紡闄愪綅浼哥緝鎺ュご
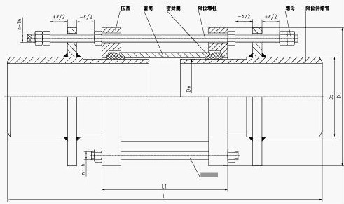
SSJB-3錛圔Y)鍨嬪帇鐩栧紡闄愪綅浼哥緝鎺ュご鏄敱鏉懼浼哥緝鎺ュご鍜屼袱涓檺浣嶇煭綆$粍鍚堣屾垚銆傚帇鐩栭檺浣嶄幾緙╂帴澶磋兘闃叉綆¢亾鍥犺秴閲忎綅縐誨鑷磋ˉ鍋挎帴澶寸殑娉勬紡鍜屾崯鍧忥紝鍘嬬洊闄愪綅浼哥緝鎺ュご涓昏鐢ㄤ簬鍦ㄥ厑璁鎬綅縐昏寖鍥村唴鍚告敹杞村悜浣嶇Щ鍜屾壙鍙楄醬鍚戝帇鍔涙帹鈥?
SSJB-3錛圔Y)鍨嬪帇鐩栧紡闄愪綅浼哥緝鎺ュご鏍囧噯錛圙B/T12465-2002)鎴朆Y錛圙B/T12465-2007)銆?/p>
SSJB-3錛圔Y)鍨嬪帇鐩栧紡闄愪綅浼哥緝鎺ュご鏄敱鏉懼浼哥緝鎺ュご鍜屼袱涓檺浣嶇煭綆$粍鍚堣屾垚銆傚帇鐩栭檺浣嶄幾緙╂帴澶磋兘闃叉綆¢亾鍥犺秴閲忎綅縐誨鑷磋ˉ鍋挎帴澶寸殑娉勬紡鍜屾崯鍧忥紝鍘嬬洊闄愪綅浼哥緝鎺ュご涓昏鐢ㄤ簬鍦ㄥ厑璁鎬綅縐昏寖鍥村唴鍚告敹杞村悜浣嶇Щ鍜屾壙鍙楄醬鍚戝帇鍔涙帹鍔涚殑綆¢亾鏉懼榪炴帴銆?/p>
SSJB-3錛圔Y)鍨嬪帇鐩栧紡闄愪綅浼哥緝鎺ュご鐨勪紭鐐癸細浼哥緝閲忓ぇ錛屽畨瑁呯畝鍗曟柟渚匡紝浣跨敤瀵垮懡闀匡紙浣跨敤瀵垮懡闀胯揪10錛?0騫達級緇翠慨鏂逛究銆?/p>
SSJB-3錛圔Y)鍨嬪帇鐩栧紡闄愪綅浼哥緝鎺ュご鐨勭壒鐐癸細鍘嬬洊闄愪綅浼哥緝鎺ュご綆¢亾涓よ竟浠ョ剨鎺ョ殑鏂瑰紡榪炴帴銆?/p>

SSJB-3錛圔Y)鍨嬪帇鐩栧紡闄愪綅浼哥緝鎺ュご鎬ц兘鐗圭偣錛?/strong>
SSJB-3錛圔Y)鍨嬪帇鐩栧紡闄愪綅浼哥緝鎺ュご鏄垜鍏徃鍦ㄥ惛鏀跺厛杈堟妧鏈殑鍩虹涓婏紝緇撳悎瀹為檯闇瑕佺爺鍒跺紑鍙戠殑涓縐嶆柊鍨嬬閬撹繛鎺ュ櫒錛屼駭鍝佺粨鏋勮璁″悎鐞嗭紝瀵嗗皝鎬ц兘鍙潬錛涗袱绔噰鐢ㄦ壙鎻掕繛鎺ワ紝瀹夎錛屾媶鍗告柟渚褲傞傚悎榪炴帴杈撻佹按銆佹補銆佹皵鍙婇綺掔矇鐘剁墿鐨勯挗綆°侀摳閾佺銆佺悆澧ㄩ摳閾佺銆丳AC綆°丄BS綆$瓑錛岃繛鎺ョ殑鍚屾椂鑳借ˉ鍋跨閬撶殑杞村悜浣嶇Щ鍙婁竴瀹氶噺鐨勬尃鏇插拰鍋忓績銆?/p>
SSJB-3錛圔Y)鍨嬪帇鐩栧紡闄愪綅浼哥緝鎺ュご鏄湪鏉懼浼哥緝鎺ュご鍘熸湁鍩虹涓婏紝澧炶闄愪綅瑁呯疆錛屽湪杈冨ぇ浼哥緝閲忓鐢ㄥ弻铻烘瘝閿佸畾錛岃繖鏍峰氨瀹炵幇綆¢亾鍦ㄥ厑璁哥殑浼哥緝閲忎腑鍙互鑷敱浼哥緝錛屼竴鏃﹁秴榪囧叾杈冨ぇ浼哥緝閲忥紝灝辮搗鍒伴檺浣嶏紝榪欐牱灝卞氨鏈夋晥鐨勭‘淇濈閬撶殑瀹夊叏榪愯錛岀壒鍒傜敤浜庢湁闇囧姩鎴栨湁涓瀹氭枩搴﹀強鍦ㄦ嫄寮殑綆¢亾涓殑榪炴帴銆?/p>
SSJB-3錛圔Y)鍨嬪帇鐩栧紡闄愪綅浼哥緝鎺ュご瀹夎鏂規硶錛氬帇鐩栭檺浣嶄幾緙╂帴澶翠袱杈瑰潎涓庣閬撶剨鎺ワ紝鍘嬬洊闄愪綅浼哥緝鎺ュご鍦ㄥ畨瑁呮椂鏉懼紑鍘嬬洊铻烘瘝錛岃皟鏁磋嚦瀹夎闀垮害鍚庢妸涓ょ鐨勭煭綆′笌綆¢亾鐒婃帴錛屾渶鍚庣敤瀵硅娉曞潎鍖鎷х揣铻烘瘝錛岃皟鏁村ソ闃茶劚铻烘瘝鍗沖彲銆?nbsp;
SSJB-3錛圔Y)鍨嬪帇鐩栧紡闄愪綅浼哥緝鎺ュご鍏鋒湁鑹ソ鐨勭患鍚堟ц兘錛屾墍浠ュ畠騫挎硾鐢ㄤ簬鍖栧伐銆佸緩絳戙佺粰姘淬佹帓姘淬佺煶娌廣佽交閲嶅伐涓氥佸喎鍐匯佸崼鐢熴佹按鏆栥佹秷闃層佺數鍔涚瓑鍩虹宸ョ▼銆?/p>
SSJB-3錛圔Y)鍨嬪帇鐩栧紡闄愪綅浼哥緝鎺ュご鏉愭枡琛?/strong>
搴忓彿 | 鍚嶇О | 鏁伴噺 | 鏉愭枡 |
1 | 鍘嬬洊 | 2 | QT400-15銆丵235A銆乑G230-450銆?0 |
2 | 濂楃瓛 | 1 | Q235A銆?0銆?6Mn |
3 | 瀵嗗皝鍦?/div> | 2 | NBR |
4 | 闄愪綅鐭 | 2 | Q235A銆?0銆?6Mn |
5 | 铻烘瘝 | Tn | Q235A銆?5銆?Cr18Ni9Ti |
6 | 闀胯灪姣?/div> | n | Q235A銆?5銆?Cr18Ni9Ti |
7 | 铻烘煴 | n | Q235A銆?5銆?Cr18Ni9Ti |
濡傞渶鏈鏂版暟鎹鑱旂郴鍦ㄧ嚎瀹㈡湇
娌沖崡鑹紬綆′笟鏈夐檺鍏徃 鎵嬫満鍙鳳細18638277136 鍥鴻瘽錛?371-64018718 浼犵湡錛?nbsp;0371-64018718 閭錛?50165323@qq.com 鍦板潃錛氬琺涔夊競瑗挎潙闀囪タ鏉?nbsp; 緗戝潃錛?a href="http://m.bj-explosive.com.cn" target="_self">http://m.bj-explosive.com.cn